康明斯ISX CM871、ISM CM876、ISX/QSX15 CM2250和ISX15 CM2350曲軸箱呼吸器總成ISZ/QSZ13 和 ISX12 G CM2180
|
FAILURE CODE BB |

|
Failure Code Details | ||
|
部件代碼 |
Component Description |
故障模式 |
|
BA |
呼吸器隔板 |
BE BR CU MA MM |
|
BO |
呼吸器體 |
BE BR CU LO MA MM WP |
|
CO |
呼吸器蓋 |
BE BR CU LO MA MM WP |
|
EL |
呼吸器芯 |
BR CO CU DR MA MM WP |
|
GB |
密封圈 |
BR CU LO MA MM WP |
|
MH |
安裝硬件 |
BE BR CU MA MM WP |
|
OC |
機油從呼吸器帶出 |
LO |
|
PC |
軟管卡箍 |
BE BR CU MA MM WP |
|
SE |
蓋密封件體 |
BE BR CU LO MA MM WP |
|
TU |
呼吸器管/軟管 |
BE BR CU DR LO MA MM |
|
FAILURE CODE BB |

|
Failure Code Details | ||
|
部件代碼 |
Component Description |
故障模式 |
|
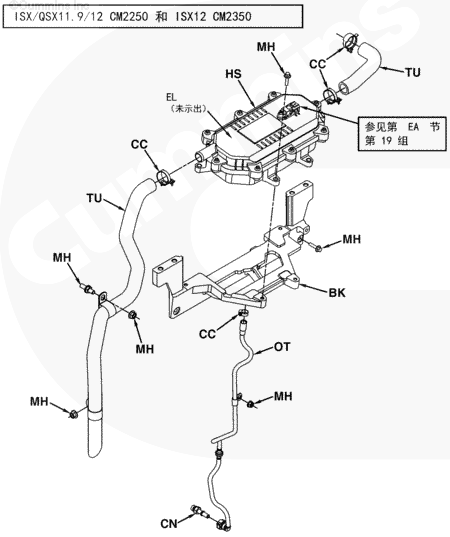
BK |
支架 |
BE BR CU MA MM WO WP |
|
CC |
卡箍 |
BE BR MA MM WP |
|
CN |
管接頭 |
BE BR CU MA MM WO WP |
|
CR |
蓋 |
BE BR CA CU ID LE MA MM WO WP |
|
EL |
濾芯 |
BR BU CU DR ER LE LF LO LW MA MM WP |
|
HO |
呼吸器軟管 |
BE BR DR MA MM |
|
HS |
殼體 |
BE BR CU DR LW MA MM WP |
|
HT |
呼吸器加熱器 |
AW BR BU HR ID LR MA SR |
|
MH |
安裝硬件 |
BE BR BU CO LE LW MA ME MM WP |
|
OT |
回油管 |
BE BR BU CA CU DR ID LE MA MM WP |
|
TU |
呼吸器管/軟管 |
BE BR DR MA MM |
|
FAILURE CODE BB |

|
Failure Code Details | ||
|
部件代碼 |
Component Description |
故障模式 |
|
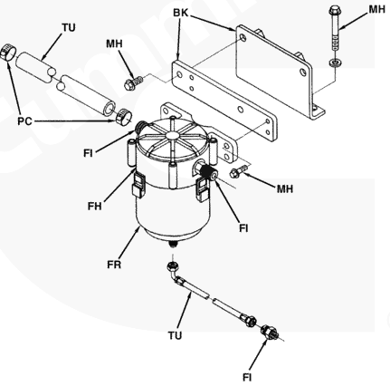
BK |
呼吸器支架 |
BE BR CU ER MA WP |
|
FH |
濾清器座 |
BE BR CO CU DR ER |
|
FI |
管接頭 |
BE BR ER MA |
|
FR |
濾清器罐 |
BR BU CU ER |
|
MH |
安裝硬件 |
BE BR CU MA MM WP |
|
PC |
軟管卡箍 |
BE BR CU MA MM WP |
|
TU |
管/軟管 |
BE BR CU DR LF MA WP |
|
FAILURE CODE BB |

|
Failure Code Details | ||
|
部件代碼 |
Component Description |
故障模式 |
|
CC |
卡箍 |
BE BR MA MM WP |
|
CN |
管接頭 |
BE BR CU MA MM WO WP |
|
HS |
殼體 |
BE BR CU DR LW MA MM WP |
|
MH |
安裝緊固件 |
BE BR BU CO LE LW MA ME MM WP |
|
OT |
回油管 |
BE BR BU CA CU DR ID LE MA MM WP |
|
TU |
呼吸器管/軟管 |
BE BR DR MA MM |
|
FAILURE CODE BB |

|
Failure Code Details | ||
|
部件代碼 |
Component Description |
故障模式 |
|
BK |
支架 |
BE BR CO MA MM PO WP |
|
CC |
卡箍 |
BE BR MA MM WP |
|
CN |
管接頭 |
BE BR CU MA MM WO WP |
|
EL |
濾芯(未顯示) |
BE BR CU DR LO MA MM WP |
|
HS |
殼體 |
BE BR CU DR LO MA MM WP |
|
MH |
安裝硬件 |
BE BR CO MA MM WP |
|
OT |
回油管 |
BE BR BU CA CU DR ID LE MA MM WP |
|
TU |
呼吸器管/軟管 |
BE BR DR MA MM |
|
FAILURE CODE BB |

|
Failure Code Details | ||
|
部件代碼 |
Component Description |
故障模式 |
|
CC |
卡箍 |
BE BR MA MM WP |
|
MH |
安裝硬件 |
BE BR CO MA MM WP |
|
TU |
呼吸器管/軟管 |
BE BR DR MA MM |